tarakan67 Опубликовано 9 августа, 2012 Поделиться Опубликовано 9 августа, 2012 У меня хватило сброса давления через штуцер на заднем регуляторе жёсткости(ну и аккумулятор дожен быть отключён на всё время работы) Ссылка на комментарий
Dmitron Опубликовано 18 августа, 2012 Поделиться Опубликовано 18 августа, 2012 Вопрос о совместимости ремкомплектов: Оригинальные детали Поз.6 (на рисунке) для С5 и ксантии имеют один номер. Значит ли это, что расстояние между подшипниками тоже одинаковое? Отличаются втулки Поз.12 (номера 513268 и 513252 для С5 и ксантии соответственно) и и втулки Поз.10 (номера 513326 и 513320). Болты отличаются на 24 мм. Сальники одинаковые. Так чем же отличаются вышеуказанные втулки, и подходят ли они от Хантии на С5? И куда деваются целых два сантиметра? С5-I - 2.0HDI - DW10ATED(RHZ) - МКПП BVM5 Ссылка на комментарий
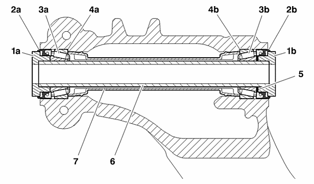
ИС-Xantia Опубликовано 18 августа, 2012 Поделиться Опубликовано 18 августа, 2012 (изменено) На С5 торцевые втулки (Поз.10) имеют совершенно другую форму и затыкают торцы полой оси (Поз.12). На Ксю ось проходит сквозь втулки Поз.10 (ее торцы заподлицо с торцами втулок), поэтому она длиннее. Это для С5, торцевые втулки 1а и 1 b: Задние опоры.bmp Изменено 18 августа, 2012 пользователем ИС-Xantia С5-II, ГА-3, 2,0 RFJ (EW10A) 2007г МКПП. До него Xantia 1,9D 1994г была 12 лет. Ссылка на комментарий
Dmitron Опубликовано 20 августа, 2012 Поделиться Опубликовано 20 августа, 2012 Но это не мешает ставить на С5 комплекты от ксантии, так? тогда по идее и болт от ксантии должен подойти. С5-I - 2.0HDI - DW10ATED(RHZ) - МКПП BVM5 Ссылка на комментарий
ИС-Xantia Опубликовано 20 августа, 2012 Поделиться Опубликовано 20 августа, 2012 Вроде так. С5-II, ГА-3, 2,0 RFJ (EW10A) 2007г МКПП. До него Xantia 1,9D 1994г была 12 лет. Ссылка на комментарий
Vovovich Опубликовано 23 августа, 2012 Поделиться Опубликовано 23 августа, 2012 Dmitron, зачем ставить от ксантии? Конечно всем хочется сэкономить. Я когда менял подшипники, заказывал комплект Quinton Hazell QWB9000. У нас он по экзисту стоит 1100 руб. В Моске и Питере - еще дешевле. Так вот, подшипники в этом комплекте были SKF. Я уже 50 т.км. на этом ремкомплекте отъездил. Полет нормальный. Меняли с коришем в гараже. Ссылка на комментарий
cnc-luthier Опубликовано 6 ноября, 2012 Поделиться Опубликовано 6 ноября, 2012 купил машину с небольшим пробегом 100 000 тысяч 2003 года. Все хорошо кроме скрипа типичного как я понял для угробленных подшипников. пока буду искать ремкомплект хочется спросить - почему не применяют? или вы не применяли более простую схему на двух шариковых подшипниках - которым не нужно ни колец ни манжет да и регулировки по большому счету. поясню что иммею ввиду вместо двух конусных роликовых заменяем их на шариковые. или это может повлиять как то на гидроподвеску? пока об экономии речь не идет, хочется понять возможна ли данная схема? спасибо Ссылка на комментарий
Цепятыч Опубликовано 6 ноября, 2012 Поделиться Опубликовано 6 ноября, 2012 заменяем их на шариковые. Скорее всего из-за большой нагрузки на узел и не применяют пока буду искать ремкомплект Надо уже будет искать рычаги Евгений68 1 Ссылка на комментарий
ИС-Xantia Опубликовано 7 ноября, 2012 Поделиться Опубликовано 7 ноября, 2012 Ролики держат куда большую нагрузку, чем шарики С5-II, ГА-3, 2,0 RFJ (EW10A) 2007г МКПП. До него Xantia 1,9D 1994г была 12 лет. Ссылка на комментарий
ikerman Опубликовано 7 ноября, 2012 Поделиться Опубликовано 7 ноября, 2012 (изменено) cxv04 - порядка 900р в Москве ремкомплект на 1 рычаг в сборе, могу дать контакты где поискать можно. Также можешь поискать ремкомплект производства IMPERGOM, на драйве недавно ставили на c5. Изменено 7 ноября, 2012 пользователем ikerman Ссылка на комментарий
cnc-luthier Опубликовано 7 ноября, 2012 Поделиться Опубликовано 7 ноября, 2012 (изменено) cxv04 - порядка 900р в Москве ремкомплект на 1 рычаг в сборе, могу дать контакты где поискать можно. Также можешь поискать ремкомплект производства IMPERGOM, на драйве недавно ставили на c5. ваши цены просто на зависть, а особенно доступность и выбор запчастей. я живу в Израиле, сегодня сказали ремкомплект (1 штука) оригинальый made in France с КИТАЙСКИМ подшипником стоит 120 евро, неоригинальных нет. весь мой с5 2003г. стоил 11000 тысяч шекелей примерно 2100 евро. , поскольку людей способных самостоятельно заниматься ремонтом раз два и обчелся соответственно все ограничивается тем что заказываю оф. дилеры. кто нибудь из вас в курсе в россии есть конторы отправляющие мелочевку вроде этой по почте? как кстати правильно вставлять цитаты? Изменено 7 ноября, 2012 пользователем cnc-luthier Ссылка на комментарий
187 Опубликовано 7 ноября, 2012 Поделиться Опубликовано 7 ноября, 2012 ваши цены просто на зависть, а особенно доступность и выбор запчастей. я живу в Израиле, сегодня сказали ремкомплект (1 штука) оригинальый made in France с КИТАЙСКИМ подшипником стоит 120 евро, неоригинальных нет. весь мой с5 2003г. стоил 11000 тысяч шекелей примерно 2100 евро. как кстати правильно вставлять цитаты? нажал "цитата" - потом "ответить" Тогда уж Ваши Цены на Авто в Израиле, На очень большую зависть :wacko: 2002года-дизель брал за 10килобаксов!!! Вот где Экономия! :rofl: С5-1 | 20.02-.03 | hdi | 2.0 | RHZ | dw10ated Ссылка на комментарий
Цепятыч Опубликовано 8 ноября, 2012 Поделиться Опубликовано 8 ноября, 2012 Вот где Экономия! По-моему, оба случая - крайности Ссылка на комментарий
cnc-luthier Опубликовано 8 ноября, 2012 Поделиться Опубликовано 8 ноября, 2012 нажал "цитата" - потом "ответить" Тогда уж Ваши Цены на Авто в Израиле, На очень большую зависть :wacko: 2002года-дизель брал за 10килобаксов!!! Вот где Экономия! :rofl: В случае с фран. авто и израиле это как раз исключение, их обходят стороной и соответственно в официальном прейскуранте на поношенные авто их цена вдвое меньше нежели японок на 5 лет старее . да и по прейскуранту никто не платит. как правило 30 процентов долой. Кстати нашел http://balka405.com/opyt-menu/56-bronz205-mater.html#axzz2Bc6viOEg чего только не придумают. надеюсь хотя бы 10 км в день можно ездить со скрипом, вернее пока поскрипыванием? кто может сказать где в питере можно наверняка подъехать и купить подобные коплекты? или куда позвонить в том же Питере? Ссылка на комментарий
tarakan67 Опубликовано 8 ноября, 2012 Поделиться Опубликовано 8 ноября, 2012 Кстати нашел http://balka405.com/...l#axzz2Bc6viOEg чего только не придумают. Это к С5 не относится, у нас немного другая конструкция Ссылка на комментарий
cnc-luthier Опубликовано 8 ноября, 2012 Поделиться Опубликовано 8 ноября, 2012 Это к С5 не относится, у нас немного другая конструкция согласен, тем не менее очень заинтересовала такая возможность. Вместо хлиплых подшипничков на которых давит тонна кузовного железа, вставить обыкновенные бронзовые соответствующей толщины, все таки цельный антифрикционный металл. нет правда втулки не 14 мм как подшипники а 25-30 мм. надежней будет. Токарный станок есть, готов приняться за изготовление пока не наступил сезон дождей. хочется услышать критику, 1. вряд ли может пострадать комфорт езды, ведь втулка прокручивается на болту. 2. констукционно нет никаких препятствия - я пока правда не разбирал свой рычаг с5, но на разборке видел. 3. ??????? что еще??? покритикуйте а? Ссылка на комментарий
Цепятыч Опубликовано 8 ноября, 2012 Поделиться Опубликовано 8 ноября, 2012 По-моему, втулка износится быстрее подшипника т.к. разница в трении скольжения\качения существенная. Слабое место - сальник, а без него не обойтись в обоих случаях Ссылка на комментарий
187 Опубликовано 8 ноября, 2012 Поделиться Опубликовано 8 ноября, 2012 Лучше не эксперементировать, рычаги стоят вразы дороже! Да и не безопасно Это, т.к. одно дело когда, трет метал об метал, трется Ось - в месте трения выработка появится Реактивно :crazy: и другое дело, когда ставят подшипники, призванные эту силу трения исключить. На рычаги еще и ударная нагрузка передается! Лучше уж у китаезов что-нибудь выгуглить С5-1 | 20.02-.03 | hdi | 2.0 | RHZ | dw10ated Ссылка на комментарий
cnc-luthier Опубликовано 8 ноября, 2012 Поделиться Опубликовано 8 ноября, 2012 Лучше не эксперементировать, рычаги стоят вразы дороже! Да и не безопасно Это, т.к. одно дело когда, трет метал об метал, трется Ось - в месте трения выработка появится Реактивно вы имеете ввиду ось это сам болт который затягивает сам рычаг к подвеске? типа может по дороге все вывалится и покатится в сторону если произойдет надлом? кстати ссылку на китайцев на китайском - а как вы ориентируетесь в деталях того или иного товара. в данном случае подшипников? искомые роликовые размером 22х41х14.4мм Ссылка на комментарий
AleksDav Опубликовано 28 ноября, 2012 Поделиться Опубликовано 28 ноября, 2012 ... кто может сказать где в питере можно наверняка подъехать и купить подобные коплекты? или куда позвонить в том же Питере? Заказывал летом через exist с набором регулировочных прокладок, через пару недель всё пришло. А купить сразу может быть возможно на Северном пр. в торговом центе "Маршал". Ссылка на комментарий
aleksandrco Опубликовано 29 ноября, 2012 Поделиться Опубликовано 29 ноября, 2012 Не так просто убить конические подшипники, просто у некоторых спецов руки из одного места растут, не разобравшись в чём причина, ага скрипит - значит менять! В моём случае подшипники были замечательные а хрюкание и скрип давали замки на спинках задних седушек. Чуть было не влетел на запчасти и их замену. Случайно заметил когда ехал с опущенными задними спинками по просёлочной дороге на малой скорости, машина едет перебирает каждую ямку и тишина. Ссылка на комментарий
187 Опубликовано 29 ноября, 2012 Поделиться Опубликовано 29 ноября, 2012 Еще Затянутый ручник может скрипеть при поднимании/опускании. Очень похожий скрип. С5-1 | 20.02-.03 | hdi | 2.0 | RHZ | dw10ated Ссылка на комментарий
Цепятыч Опубликовано 29 ноября, 2012 Поделиться Опубликовано 29 ноября, 2012 В моём случае подшипники были замечательные а хрюкание и скрип давали замки на спинках задних седушек Круто! Эти звуки невозможно перепутать или не заметить Затянутый ручник может скрипеть при поднимании/опускании Не может. Он на передних колёсах, а они не катаются при поднятии Ссылка на комментарий
keper Опубликовано 1 декабря, 2012 Поделиться Опубликовано 1 декабря, 2012 Добрый вечер.Сегодня менял подшипники задних рычагов. Делал всё как описано на форуме.Средние болты грязезащитного кожуха открутились норм,а вот болт датчика АВS заломался(слёва).Пришлось высверливать.Проблема была в другом.Шплинт штока гидравлики укорел надёжно, но путём бронзовой наставки и плогскогубцев выбили и пипец, механизм штока укорел намертво.Пришлось доставать рычаг вместе со штоком.Немного покрутив,мешает бак.Справа даже и не пытались снимать шток , достали в сборе.Правда предварительно "разгрузив" подвеску и утопив цилиндр сферы до упора.Больше там выпасть нечему.Но нужен "оруженосец", один "затрахаешся".(сори)за нецензуру.День работы, с перерывом на обед и перекуры.Для первого раза наверное норм? Citroen C5 2.0 бензин 2001г. хэтчбэк,(EW10J4)-136 л.с. МКПП-(BE4R). Ссылка на комментарий
187 Опубликовано 1 декабря, 2012 Поделиться Опубликовано 1 декабря, 2012 Еще Затянутый ручник может скрипеть при поднимании/опускании. Очень похожий скрип. Не может. Он на передних колёсах, а они не катаются при поднятии у меня скрипят при затянутом ручнике и скрип слышен при поднятии/опускании подвески. Если ручник вырубить скрипа нет :clapping: С5-1 | 20.02-.03 | hdi | 2.0 | RHZ | dw10ated Ссылка на комментарий
Рекомендуемые сообщения
Для публикации сообщений создайте учётную запись или авторизуйтесь
Вы должны быть пользователем, чтобы оставить комментарий
Создать учетную запись
Зарегистрируйте новую учётную запись в нашем сообществе. Это очень просто!
Регистрация нового пользователяВойти
Уже есть аккаунт? Войти в систему.
Войти