Карэн Опубликовано 20 декабря, 2010 Поделиться Опубликовано 20 декабря, 2010 менял прошлый хозяин в сервисе.как это колечко увидеть из ямы или ток разбирать?это те,которые квадратные,на которых крепится балка к кузову, стоят ближе к бамперу?? скучно...век живи-век учись... Ссылка на комментарий
ИС-Xantia Опубликовано 20 декабря, 2010 Поделиться Опубликовано 20 декабря, 2010 А что за колечко? Не наблюдал-с... Может регулировочная шайба при подшипнике? С5-II, ГА-3, 2,0 RFJ (EW10A) 2007г МКПП. До него Xantia 1,9D 1994г была 12 лет. Ссылка на комментарий
Карэн Опубликовано 20 декабря, 2010 Поделиться Опубликовано 20 декабря, 2010 А что за колечко? Не наблюдал-с... Может регулировочная шайба при подшипнике? судя по всему шайба. вопрос открыт :mda: скучно...век живи-век учись... Ссылка на комментарий
WALDEMARIK Опубликовано 20 декабря, 2010 Поделиться Опубликовано 20 декабря, 2010 Так она и есть.. Просто он не правильно написал(колечко). Ссылка на комментарий
tarakan67 Опубликовано 20 декабря, 2010 Поделиться Опубликовано 20 декабря, 2010 Каюсь, некорректно выразился. Она самая шайба и только разбирать это те,которые квадратные,на которых крепится балка к кузову, стоят ближе к бамперу?? Вообще то их там четыре, две внутри мощных литых цилиндров(которые ближе к носу авто) если не так назвал - звыняйте. Под эти цилиндры ещё некоторые сервисмены лапы подъёмника подставляют, хотя против этого французы категорически возражают Ссылка на комментарий
Андрей А. Кузьмин Опубликовано 21 декабря, 2010 Поделиться Опубликовано 21 декабря, 2010 А скажите пожалуйста товарищи СИТРОВОДЫ ... что-то подгрюкивает сзади справа звук не резкий а похож на пластиковый,исходящий на мелких кочках..."Погрюкивать" может и щиток тормозного диска (не помню как называется :pardon: ), когда одно из ушей оторвётся или болт отвинтится. У меня уже с обоих сторон отваливался этот щиток, кстати. отвалившись совсем он виснет на проводе ABS и жутко гремит (когда он у меня отвалился я думал что пол задници на кочке потерял :shok: ). Ссылка на комментарий
Карэн Опубликовано 21 декабря, 2010 Поделиться Опубликовано 21 декабря, 2010 думаю что звук этой защиты несколько другим был бы,т к металл тонкий- звук звонкий...я всё же подозреваю,что дело в регулировочных шайбах-неправильной, недостаточной регулировке подшипников перед сборкой узла,т к 3тыс км ездил без малейшего намёка на неисправность рычага, а люфт в нём не обнаружил из-за прижима гидроэлемента :pardon: если не прав-поправьте плиз... звук прогрессирует-надо чё-то делать :mda: спасибо скучно...век живи-век учись... Ссылка на комментарий
ИС-Xantia Опубликовано 24 декабря, 2010 Поделиться Опубликовано 24 декабря, 2010 При замене этих конических роликовых подшипников положено выставлять осевой люфт пакета до 0,08 мм. Для этих целей ПСА выпускает спецнабор калиброванных шайб. Принцип аналогичен регулировке люфта колесных подшипников у старых жужиков, москвичей и т.д., но не гайкой, а подбором шайбы. Перетянутый или недотянутый пакет резко сокращает ресурс подшипников. Если меняются только одни подшипники (каждый со своей наружной обоймой), то оставляют старую регулировочную шайбу, ибо подшипники точно шлифуются в размер. Старую шайбу не терять. Но обычно требуется замена изношенных или торцевых шайб или втулки. Тогда зазор надо регулировать заново. Вообще для оценки люфта подвески рычага надо вывесить рычаг, стравить давление и отцепить от него стабилизатор поперечной устойчивости, иначе другой рычаг будет маскировать люфт. С5-II, ГА-3, 2,0 RFJ (EW10A) 2007г МКПП. До него Xantia 1,9D 1994г была 12 лет. Ссылка на комментарий
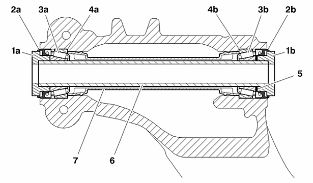
Карэн Опубликовано 24 декабря, 2010 Поделиться Опубликовано 24 декабря, 2010 (изменено) а где конкретно ставится рег шайба, между чем и чем??об этом ни слова не нашёл...может рисунок какой есть? :mda: всё на словах и на пальцах-отсюда и непонятки...поймите правильно- просто не хочется лезть,не совсем представляя что и как.. Изменено 24 декабря, 2010 пользователем Карэн скучно...век живи-век учись... Ссылка на комментарий
AleksDav Опубликовано 24 декабря, 2010 Поделиться Опубликовано 24 декабря, 2010 (изменено) {cut} Описание всего процесса с рассуждениями, включая технологию подборки регулировочных шайб, можно посмотреть здесь: http://forum.citroenblog.ru/topic/141-pods...adnih-richagov/ Изменено 24 декабря, 2010 пользователем Airborn Ссылка на комментарий
ИС-Xantia Опубликовано 24 декабря, 2010 Поделиться Опубликовано 24 декабря, 2010 По предыдущей ссылке есть неточности. Вот официальная документация по ХМ. На С5 все аналогично, но торцевые шайбы имеют другую форму. Xm_422_3_1.pdf С5-II, ГА-3, 2,0 RFJ (EW10A) 2007г МКПП. До него Xantia 1,9D 1994г была 12 лет. Ссылка на комментарий
Карэн Опубликовано 24 декабря, 2010 Поделиться Опубликовано 24 декабря, 2010 Каюсь, некорректно выразился. Она самая шайба и только разбирать Вообще то их там четыре, две внутри мощных литых цилиндров(которые ближе к носу авто) если не так назвал - звыняйте. Под эти цилиндры ещё некоторые сервисмены лапы подъёмника подставляют, хотя против этого французы категорически возражают а менять их проблемно эти сайленты задней балки, и неужели ценник на задние квадратные2500р в экзисте??? :shok: скучно...век живи-век учись... Ссылка на комментарий
tarakan67 Опубликовано 25 декабря, 2010 Поделиться Опубликовано 25 декабря, 2010 (изменено) Вот схема подшипников заднего рычага для С5 первого поколения b3dp08vd.bmp Искомая шайба под номером 5 Насчёт резинок(сайлентов?) крепления балки к кузову ничего не могу сказать сам не менял Изменено 25 декабря, 2010 пользователем tarakan67 Ссылка на комментарий
Werewolf 83 Опубликовано 27 декабря, 2010 Автор Поделиться Опубликовано 27 декабря, 2010 (изменено) Чтоб придать остроты теме - знач так - сняли рычаги, достали подшипники, на которых было написано "Мейд Ин Чайна", поставили новые подшипники (ремкомплект по 1300р, но из него нихрена не подходит кроме подшипников и сальников с шайбами), бывают еще ремкомплекты по 1800 и по 2600 скф. Хотя в ремкомплекте за 1300 тоже лежит скф-индия. Шайб напихали, сделали сход-развал - все нормально стало. Теперь надо вылечить глюк абс (походу датчик неудачно закрепили). Вопросы почему поставил не скф комплект - там с такой конструкцией все что угодно умрет, машина не для русской зимы). один фиг продавать ее. З.Ы. - как разбирается левое зеркало? Изменено 27 декабря, 2010 пользователем Werewolf 83 Ссылка на комментарий
Dron Опубликовано 27 декабря, 2010 Поделиться Опубликовано 27 декабря, 2010 Вопросы почему поставил не скф комплект Енто чё? Citroen Berlingo со подруги и товарищи. Ссылка на комментарий
Werewolf 83 Опубликовано 27 декабря, 2010 Автор Поделиться Опубликовано 27 декабря, 2010 есть комплект SKF, стоит 2600 на рычаг. Ссылка на комментарий
Карэн Опубликовано 27 декабря, 2010 Поделиться Опубликовано 27 декабря, 2010 откручивал стабилизатор-рычаги не люфтят,уже голову сломал,что там может греметь... :bad: скучно...век живи-век учись... Ссылка на комментарий
Werewolf 83 Опубликовано 28 декабря, 2010 Автор Поделиться Опубликовано 28 декабря, 2010 а рычаги сымал? там вообще по хорошему варианта может быть максимум три - ступицы, сами рычаги и если порвалась подушка балки - то она. А люфт там может быть и не заметен руками, а при нагрузке - может и греметь. Ссылка на комментарий
alekccore Опубликовано 28 августа, 2011 Поделиться Опубликовано 28 августа, 2011 У меня тоже периодически стало хрустеть и скрипеть сзади,но скрип слышен явно не от игольчатых подшипников и рычагов,а выше ,как бы внутри балки.по поиску ничего не нашёл,везде "рычаги" и всё.Сам на яме раскачивал,рычаги молчат,а треск-вибрация отдаётся только в балке!!! что делать? Ссылка на комментарий
Werewolf 83 Опубликовано 1 сентября, 2011 Автор Поделиться Опубликовано 1 сентября, 2011 скорей всего все равно подшипники... кто их придумал... и главное - зачем ) может оказаться так, что у тебя они закисли и щелкает когда тормозишь или трогаешься с места. Ссылка на комментарий
leonn_c5 Опубликовано 1 сентября, 2011 Поделиться Опубликовано 1 сентября, 2011 Werewolf 83, в смысле зачем? А как еще можно было это сделать? Для сайлентболков слишком большой угол поворота был бы. Ссылка на комментарий
Карэн Опубликовано 1 сентября, 2011 Поделиться Опубликовано 1 сентября, 2011 впереди ведь стоят сайленты,там тоже большой угол при подъёме... :dntknw: скучно...век живи-век учись... Ссылка на комментарий
ИС-Xantia Опубликовано 1 сентября, 2011 Поделиться Опубликовано 1 сентября, 2011 (изменено) {cut} Если посмотреть плечи рычагов, то у задних угол поворота заметно больше. У нас хоть роликовые, а на Пыжах игольчатые, что более гиморно. Изменено 6 сентября, 2011 пользователем Airborn del overquote С5-II, ГА-3, 2,0 RFJ (EW10A) 2007г МКПП. До него Xantia 1,9D 1994г была 12 лет. Ссылка на комментарий
Глэн Опубликовано 2 сентября, 2011 Поделиться Опубликовано 2 сентября, 2011 Я тоже долго смотрел и слушал. Считал, что звук не тот, или не той тональности, или не от туда. Когда вскрыли на сервисе, сказали что еще немного и попал бы на замену рычагов, а это уже другие деньги. Посмотрел сам и согласился полностью. Рекомендую поменять и забыть. Ссылка на комментарий
mix_mix Опубликовано 12 марта, 2014 Поделиться Опубликовано 12 марта, 2014 Заменил подшипники задних рычагов, развал вернулся к норме, схождение правого колеса не в порядке почему? То что это произошло в следствии удара это и так понятно. Но что погнулось при этом? Ремонтники как всегда говорят менять все подряд, но мой бюджет такое не потянет. Хочу узнать ваше мнение вдруг кто — то сталкивался. По логике это может быть либо рычаг либо ступица. Из-за этого не могу пройти техосмотр увод задней оси 8,4 м/км. Ссылка на комментарий
Рекомендуемые сообщения
Для публикации сообщений создайте учётную запись или авторизуйтесь
Вы должны быть пользователем, чтобы оставить комментарий
Создать учетную запись
Зарегистрируйте новую учётную запись в нашем сообществе. Это очень просто!
Регистрация нового пользователяВойти
Уже есть аккаунт? Войти в систему.
Войти